ปากกา S Pen รุ่นใหม่ล่าสุดที่มากับสมาร์ทโฟน Galaxy Note 9 ได้รับการพัฒนาความสามารถให้เพิ่มขึ้นจากรุ่นก่อนอย่างมาก โดยรองรับการเชื่อมต่อบลูทูธ เพื่อใช้ควบคุมสมาร์ทโฟนในบางฟีเจอร์ และยังสามารถชาร์จแบตเตอรี่ได้อย่างรวดเร็ว เพียงเสียบปากกาเก็บไว้ในสมาร์ทโฟน แต่ใครจะไปคิดว่าปากกา S Pen ในอนาคต อาจจะติดตั้งกล้องมาให้ในตัว และเป็นกล้องที่มีระบบซูมออปติคอลด้วย
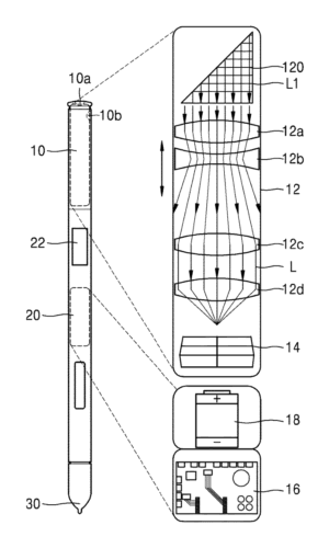
สิทธิบัตรของ Samsung ที่ถูกเปิดเผยออกมาไม่นานนี้ แม้จะยื่นจดไว้ตั้งแต่เดือนกุมภาพันธ์ 2017 แสดงให้เห็นว่า Samsung มีแนวคิดติดตั้งกล้องดิจิตอลลงในปากกา S Pen โดยใช้ระบบเลนส์ที่สนับสนุนการซูมแบบออปติคอล
Samsung อธิบายไว้ในสิทธิบัตรว่า สมาร์ทโฟนทั่วไป มักใช้กล้องที่มีระบบซูมแบบดิจิตอล เพื่อทำให้สมาร์ทโฟนมีความบาง ถึงแม้การซูมแบบออปติคอลจะมีประสิทธิภาพที่ดีกว่า ดังนั้น การติดตั้งกล้องที่มีเลนส์ซูมออปติคอลไว้ในปากกา S Pen จะช่วยรักษาความบางของสมาร์ทโฟนได้
ถ้าหาก Samsung มีการย้ายกล้องไปอยู่ในปากกา ก็จะช่วยให้สมาร์ทโฟน Galaxy Note ในอนาคต ได้รับการออกแบบมาให้มีดีไซน์ไร้กรอบได้มากขึ้น โดยไม่จำเป็นต้องมีรอยบาก หรือมีรูแบบที่กำลังจะทำกับ Galaxy S10 series
อย่างไรก็ตาม เทคโนโลยีข้างต้น ยังอยู่ในสิทธิบัตรเท่านั้น และคงจะเร็วเกินไปที่เราจะเห็น Samsung นำมาใช้กับ Galaxy Note 10
ที่มา – AndroidPolice
https://www.flashfly.net/wp/?p=241218








